找回密码
 立即注册
澳门威尼斯人
U8
U18
海燕招商
A
蓝盾
e世博
islot.
申博亚洲
澳门银河
B
腾博会
德信
C级广告商
吉祥坊
查看: 51|回复: 0

[彩票] 彩票运气不错的,保持盈利190多块钱

[复制链接]

72

主题

2766

回帖

611

金币

铜牌用户

积分
8255

老会员

发表于 2026-4-12 03:07 | 显示全部楼层 |阅读模式

马上注册,结交更多好友,享用更多功能,让你轻松玩转社区。

您需要 登录 才可以下载或查看,没有账号?立即注册

×
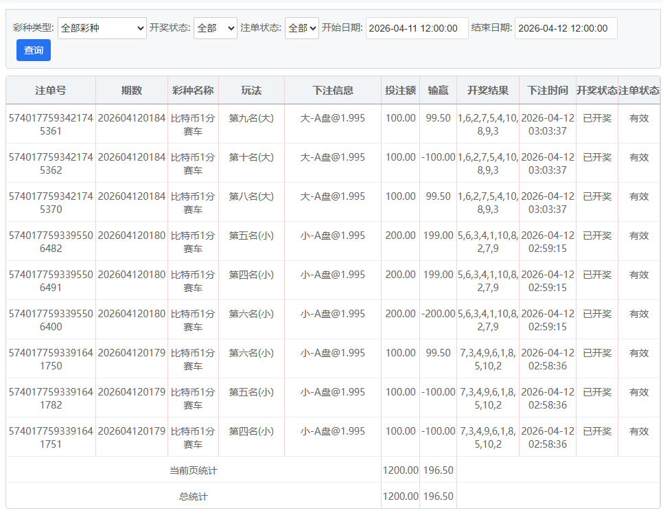
每天的策略坚持下来,收米算是有点进步;保持比特币彩票三定位两面玩法,获利还有机会的,。收190多块钱;) u5 Q8 I0 @5 B0 J& q: V3 i

+ {2 D4 X6 x$ L* I$ u# y, g% n& U
2.jpg
) a4 Z% G" ~$ _5 Q 1.jpg 6 e" U; m! J6 q8 S! t$ a
回复

使用道具 举报

您需要登录后才可以回帖 登录 | 立即注册

本版积分规则

广告合作|福利汇|论坛简介|钱包教程|手机版|小黑屋|Archiver|海燕论坛

快速回复 返回顶部 返回列表