找回密码
 立即注册
澳门威尼斯人
U8
U18
海燕招商
A
蓝盾
e世博
islot.
申博亚洲
B
开云
腾博会
德信
C级广告商
吉祥坊
华体会
查看: 15078|回复: 28

[评测] 【威尼斯人评测】界面清爽流畅,出入金顺畅的实战测评体验

[复制链接]

83

主题

1万

回帖

5002

金币

千足金牌会员

积分
66715

老会员交易勋章魅力达人

发表于 2025-10-6 16:31 | 显示全部楼层 |阅读模式

马上注册,结交更多好友,享用更多功能,让你轻松玩转社区。

您需要 登录 才可以下载或查看,没有账号?立即注册

×
本帖最后由 小策 于 2025-10-6 16:32 编辑 $ h" ~6 y0 ^& M: h% K
8 i; b- Q% _% W1 B. F$ L$ P: ~, P
作为老会员,通过海燕论坛的专属注册链接体验了威尼斯人娱乐城,整体感受可以说是“稳、快、顺”三个字。以下结合我的实测截图,从界面设计、存取款体验、游戏操作流畅度以及客服响应等几个方面,做一个较为全面的评测。
0 G3 B# D1 l3 z2 d/ p7 R: t. w' ]1 W) `, i: N8 i" W
一、界面与系统体验:整洁直观,分类清晰) h$ m& f8 m" c, v2 V9 k+ `: G
6 Y8 ~2 a  m; T& g# V& i! g
威尼斯人主页整体配色以橙白为主,视觉干净,没有那种低质广告风。顶部是活动横幅与会员推广入口,中部按分类列出了主打游戏:电子、体育、真人、棋牌、捕鱼、彩票、电竞等,一目了然。( z, ?7 M' i5 S/ _1 n8 b1 Q8 a
我个人最常玩的栏目是“彩票聊天室”和“糖果派对系列”,进入速度非常快,不需要额外跳转页面,加载延迟基本在1秒以内。
" o4 _9 W5 F' x  A* f9 ~* b另外,底部的导航栏固定了五大功能:“首页、优惠、充值、客服、我的”,手机操作时切换非常方便,布局上属于主流APP风格。相比部分杂乱的平台,威尼斯人在UI设计上确实显得成熟许多。
- ]3 s- n) L- t$ W: O4 G& x. | QQ20251006-162903.png
* Q  i4 b4 O% e# K' v" g6 R) E/ _' A6 p- ~' [% O% A

8 u% V( H; {5 r8 z& E6 W; m二、会员系统与等级体验:VIP机制清晰,晋级路径明确% }3 R4 n! }; E; a8 F* N3 g
) i% `7 ]( v+ z. [
从我的个人中心截图可以看到,我目前是 VIP4等级,余额8391.42,距离VIP5还差大约29498投注量。系统会清楚显示升级进度条,绿色进度填充非常直观。
1 N1 j& e) C, r5 R每天登录签到、存款、投注都会增加积分,积分不仅能兑换金币,还能加速VIP升级。9 s' W4 Q8 ]& e& D( G2 ]! ?
特别是利息宝功能这一点挺有意思,类似于“资金活期利息”,能在一定程度上增加账户留存感。整体来看,VIP系统透明度高,没有暗箱操作的感觉。
$ p/ O# Q5 |5 q- P: w2 N( B
- Z+ f. X/ ^3 l" A6 \/ G* I QQ20251006-162846.png 9 i% k7 R+ l* J# o6 v- o- M
; X  J6 L$ G+ }) ]! M
三、资金出入体验:切换灵活,到账及时
. E/ p! F( u% r/ I/ |  i
) M% b9 a$ g6 g我在10月6日下午做了一次实际的资金切换操作:0 A8 y0 m% k! {: ^& M& A

. |  i% Z/ w8 z: D, q, r15:25分:从大厅转入BBIN彩票账户,金额为 -10616.17;
% S8 }$ V; C7 Q: p3 }4 P2 h) C: ?% v7 H( R: i5 R
16:01分:再从BBIN彩票转回大厅,金额 +8165.53;
/ @. L' R  `+ @5 A  D- a整个过程耗时不到1分钟,系统单号自动生成,交易记录清晰。" K8 S; _  z) G8 @! f8 N  i
无论是加钱还是转出,大厅和彩票之间资金都是“秒到”的,这点要比很多延迟严重的平台好太多。
" Y4 A0 n9 R* C另外,系统会自动计算出“有效投注额”,方便玩家核对流水。整体的资金安全性和记录透明度给我的印象是相当可靠的。
( J7 N8 [$ M' {
9 |$ W' B7 x) w5 C, u4 x7 F- _$ _" N四、实战体验:台湾宾果连投实测,输赢节奏明显
9 X) j4 w7 Y; G$ C) e: U4 `  q  H: ~2 ~, j2 @; v
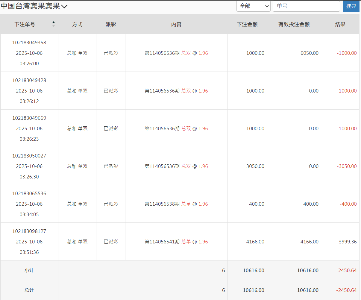
10月6日凌晨,我选择了 中国台湾宾果 的玩法进行实测(如下图表所示),投注方向为“总和单双”,赔率1.96。
2 g' X0 Y' ?0 \1 F3 R1 F共计6单,总投注 10,616元,其中包括几笔较大额下注(最高单笔3050元)。
" {. Q; m: o" `8 Z" K& K  |$ _( p- E. P/ O& f( @
最终结果统计如下:
3 N: S1 q, y7 F& ]( M# o3 R5 E( l7 o* A, y/ l# f& m, j
前四单均未中,连续亏损约7000多;& P" x9 l- E5 _; r4 Y: Q
' h9 R; Z7 V4 t4 \& L
第五单继续压“总单”400元依然未中;0 O; k/ Z6 i, P! p5 K
( f! Z; R9 y. Z! }* b1 v; A
最后一单转压“总单”4166元,总算中出,盈利3999.36;6 P5 D- |* s* Y9 |
最终合计亏损 2450.64元。
) C6 ~7 a9 Q( k7 }3 o! j* z
% w7 E7 _( d. `- k虽然这波整体是亏的,但整个过程的投注记录刷新及时,开奖结果和官方同步,没有卡顿或延迟。4 `# G6 h& L; g1 g( |
值得一提的是,页面在显示中奖时会自动标红“已派奖”,操作反馈清晰。输赢明了、数据准确,是一个合格的系统表现。( W- Y( U7 Q9 Q* o
QQ20251006-160203.png QQ20251006-160102.png " A1 Q- u' K- h. Y" s7 j1 M2 `
8 }; J0 x% V; e. C. S+ M9 ^3 O  g

% y/ G% W$ A! ^3 X1 W+ F五、客服与响应:态度友善,回复速度快. Y! a& ~; f3 v! k
, I+ k4 q) O2 _# g/ c+ n* }( I/ x- E
我在测试时曾咨询过一次有关充值优惠的问题,通过右下角的“客服”图标进入对话,大约10秒内就有真人客服响应。9 @$ w  c2 D  I3 u
客服回答简洁、态度友善,没有推诿,提供了详细活动规则与利息宝说明,这点让我印象不错。. z; T, p5 Z/ ^8 {" f5 \
部分平台客服用机器人回复模板,而威尼斯人是真人轮值,体验加分。
3 |$ y; p. ^' Z$ k
6 o4 U$ N3 ^+ C% D, ?( Y" F1 O六、移动端与性能:不卡顿、不掉线
, V5 z) o1 u% T, {3 @8 \
+ E7 H: [) l4 D! `$ q. N, x我用的是安卓机测试,从打开到登录全程无闪退。+ H8 q& S$ n8 |2 B, w* s# P% ^6 Y
即使边玩边切换到微信回复消息,再返回APP也不会掉线。
: f/ c, U9 Q* k8 F加载速度、切换页面的流畅度可与国内一线娱乐平台相媲美,说明威尼斯人在系统优化方面投入不小。
) ^8 H8 R, L1 G7 v0 X. N
/ y( K+ S$ \' D' M9 ^, l$ ]七、总体评价与建议
" x. A, a* ]/ z* q
; D2 X6 o* K4 y& C0 N7 C综合体验下来,威尼斯人娱乐城在我心中可以打出 8.5/10分。+ |" T9 s. m/ f" O8 u
4 @/ }4 ^6 ?2 `& Y- i" h/ M7 d
优点:4 m+ r9 N! b, P" d0 s) P1 C' L  [
0 m) G9 b: N/ F! P+ c+ t
页面干净、加载快;
, ?. x3 {1 f3 p1 c! i3 R
- D+ p/ A  L# o- c6 v出入金流畅,记录清晰;$ t* J( q- W1 N1 B( s6 u' e0 L. j

* r# U3 T) k, J9 x9 D客服响应快,态度好;
8 k$ W6 ]" D0 F  q
+ W$ Y( i8 G. F$ l  dVIP体系合理,有成长动力。1 ]6 f% d" g( h0 o8 I
- P8 `' d# b' A2 d
不足:
/ r% ~0 x- d- [4 v
" Z0 O, @& `# p9 X3 {2 T彩票页面部分栏目字体略小,手机横屏时稍显密集;$ o2 t6 a/ y' G" ?

4 q/ H3 I( Q- D( H" N活动介绍页加载时广告略多,建议做简化。5 w0 f8 t2 t8 p8 ?$ T. U# p: v

/ N% D  k/ O$ ]7 W建议: 可以增加投注统计图表,让玩家一眼看出本周输赢走势;同时优化资金切换页面的提示音,避免重复点击。
* _" D% n5 G9 f; I3 z6 b$ o& |% G' B6 @) C% [1 o, ?7 V1 R
八、结语) G' e) ?4 C; p' x" `9 X+ H- w
0 N* H. @4 u* S7 v
这次威尼斯人实战虽然整体亏了两千多,但从体验角度来说,平台表现稳定,系统流畅,没有任何卡顿或异常。# R% k* m) b' ]0 Z# z
资金切换顺畅、客服高效、UI设计清晰,是一次较为满意的评测体验。! w6 ~+ u6 I4 D0 f: a2 e% t) y4 p
无论你是新手试玩还是老玩家长期操作,威尼斯人目前的综合表现都值得一试。5 e2 _+ |% v! D) o1 D, }
后续若能在优惠活动和资金利息上再做些创新,相信会吸引更多玩家长期留存。
5 s  f6 L  J- }/ X5 ]
$ J. J$ e- ?* Y, |3 m4 U! b
回复

使用道具 举报

1

主题

4994

回帖

4198

金币

金牌会员

积分
23389

老会员

发表于 2025-10-6 16:38 | 显示全部楼层
楼主在澳门威尼斯人也是玩了不少次了吧,有发言权了
回复 支持 反对

使用道具 举报

197

主题

6859

回帖

148

金币

银牌会员

积分
13995

老会员交易勋章

发表于 2025-10-6 17:57 | 显示全部楼层
本金8000多啊,真是厉害额度,稳稳玩一波,别急慢慢来
回复 支持 反对

使用道具 举报

480

主题

3万

回帖

4665

金币

铂金用户

积分
84327

老会员美女勋章勤奋勋章交易勋章

发表于 2025-10-6 20:10 | 显示全部楼层
比较喜欢存款出款都快的公司,游戏也多都很方便就可以了
回复 支持 反对

使用道具 举报

182

主题

6506

回帖

970

金币

银牌会员

积分
15723

老会员

发表于 2025-10-6 22:14 | 显示全部楼层
存提顺,这对很多玩家来说还是很重要的,那就多玩会去
回复 支持 反对

使用道具 举报

278

主题

1万

回帖

4452

金币

金牌会员

积分
34776

老会员光影行者

发表于 2025-10-7 05:01 | 显示全部楼层
这个公司,还是有不少的人都是比较喜欢的,感觉活动确实是很不错的。
回复 支持 反对

使用道具 举报

1517

主题

7万

回帖

1万

金币

海燕硕士

积分
241024

万时之王老会员精华勋章勤奋勋章交易勋章光影行者

发表于 2025-10-7 06:27 | 显示全部楼层
威尼斯的界面还是非常流畅的了,大家都是觉得非常好的体验了
回复 支持 反对

使用道具 举报

1517

主题

7万

回帖

1万

金币

海燕硕士

积分
241024

万时之王老会员精华勋章勤奋勋章交易勋章光影行者

发表于 2025-10-7 06:28 | 显示全部楼层
夷陵老祖 发表于 2025-10-6 22:142 |; b, x* w  h  Z* z! [
存提顺,这对很多玩家来说还是很重要的,那就多玩会去
: p/ I- M0 }5 ~- Y- L+ S$ s8 P
这个公司只要提款非常顺利,相信大家都是会去多玩一段时间的了
回复 支持 反对

使用道具 举报

1517

主题

7万

回帖

1万

金币

海燕硕士

积分
241024

万时之王老会员精华勋章勤奋勋章交易勋章光影行者

发表于 2025-10-7 06:29 | 显示全部楼层
没牙的兔子 发表于 2025-10-7 05:01
, u0 D9 ~' O& C! c% ?这个公司,还是有不少的人都是比较喜欢的,感觉活动确实是很不错的。

3 W2 J% r# q- u. K! ^% X; ]* M感觉大家都是会非常喜欢的公司了,有时间了还是可以去注册一下的
回复 支持 反对

使用道具 举报

3800

主题

8万

回帖

1万

金币

海燕硕士

积分
243182

万时之王老会员精华勋章勤奋勋章

发表于 2025-10-7 07:05 | 显示全部楼层
看来这一次的体验还是相当的不错的每一天都是希望能够多盈利才好
回复 支持 反对

使用道具 举报

3800

主题

8万

回帖

1万

金币

海燕硕士

积分
243182

万时之王老会员精华勋章勤奋勋章

发表于 2025-10-7 07:05 | 显示全部楼层
cwx1994 发表于 2025-10-7 06:29
) C% n* r3 F8 R/ @感觉大家都是会非常喜欢的公司了,有时间了还是可以去注册一下的

! N; E7 D* s1 @! Z/ n7 q大家都喜欢这家公司,因为她们的福利和优惠实在是太给力了
回复 支持 反对

使用道具 举报

3800

主题

8万

回帖

1万

金币

海燕硕士

积分
243182

万时之王老会员精华勋章勤奋勋章

发表于 2025-10-7 07:05 | 显示全部楼层
没牙的兔子 发表于 2025-10-7 05:01
$ ~) d3 P' `2 c6 H# w( b$ ^: q这个公司,还是有不少的人都是比较喜欢的,感觉活动确实是很不错的。
  ^/ G& Q, }2 F0 e8 N- }- q  R  F+ ?
确实还是有不少人都挺喜欢的,这个活动的话呢,也是越来越多了呗
回复 支持 反对

使用道具 举报

61

主题

4万

回帖

320

金币

钻石用户

积分
120834

万时之王老会员勤奋勋章交易勋章光影行者

发表于 2025-10-7 07:39 | 显示全部楼层
老哥也是搞起来评测了,感觉不错那就多多的去支持下最好了,七天的不纠结的啊!
回复 支持 反对

使用道具 举报

3393

主题

8万

回帖

1万

金币

海燕硕士

积分
241381

万时之王老会员精华勋章勤奋勋章交易勋章光影行者

发表于 2025-10-7 11:05 | 显示全部楼层
这样的平台还是非常不错的,还是可以多去玩一下就会玩得更好的
回复 支持 反对

使用道具 举报

3393

主题

8万

回帖

1万

金币

海燕硕士

积分
241381

万时之王老会员精华勋章勤奋勋章交易勋章光影行者

发表于 2025-10-7 11:05 | 显示全部楼层
奔四 发表于 2025-10-7 07:39  y( [5 C. x  O/ g
老哥也是搞起来评测了,感觉不错那就多多的去支持下最好了,七天的不纠结的啊!  ...

- Y% w1 w% U: W" u当然还是需要能够更多的去支持这样的一个优质的公司啊,我们需要的就是这样的实力公司
回复 支持 反对

使用道具 举报

您需要登录后才可以回帖 登录 | 立即注册

本版积分规则

广告合作|评测有奖|福利汇|论坛简介|钱包合集|手机版|小黑屋|Archiver|海燕论坛

快速回复 返回顶部 返回列表