找回密码
 立即注册
澳门威尼斯人
U8
U18
海燕招商
A
蓝盾
e世博
islot.
申博亚洲
澳门银河
B
腾博会
德信
C级广告商
吉祥坊
查看: 26694|回复: 74

[彩票] 【实战有奖】威尼斯人台湾宾果连挂后稳收,亏损2450止步

[复制链接]

97

主题

2万

回帖

6048

金币

铂金用户

积分
83143

老会员交易勋章魅力达人

发表于 2025-10-6 16:17 | 显示全部楼层 |阅读模式

马上注册,结交更多好友,享用更多功能,让你轻松玩转社区。

您需要 登录 才可以下载或查看,没有账号?立即注册

×
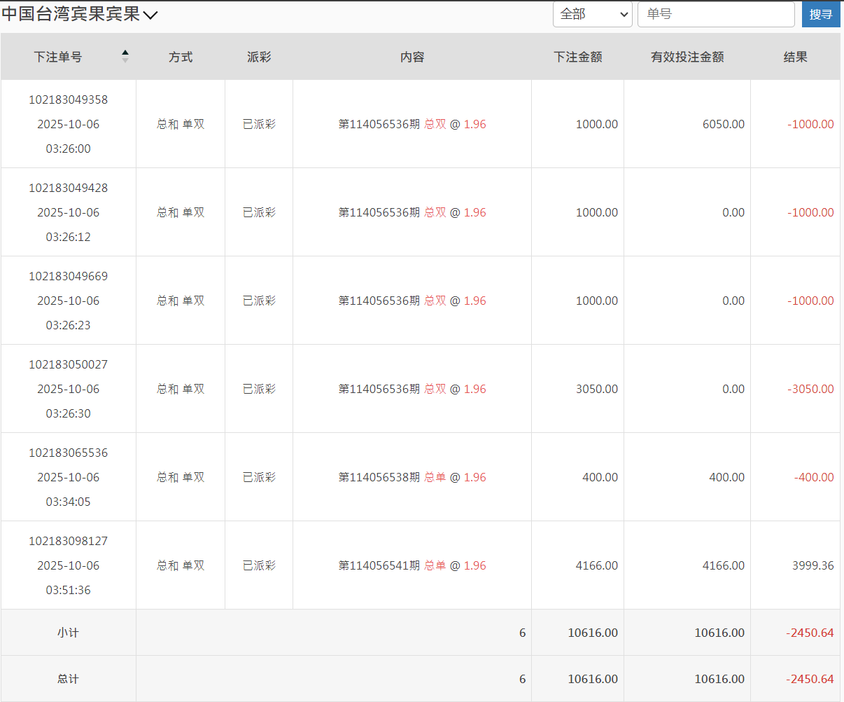
今天下午打了台湾宾果这一轮,整体过程挺曲折,但也算控制住了节奏。大概从下午三点左右开始进场,当时看走势总和“双”连开几期,手痒了,于是轻仓试单。原本打算随便玩玩,结果越看越不对劲,单双频繁切换,让人有点摸不清节奏。+ f* z- s$ a% K7 d4 ^
6 o# X( U, I" U+ d
这轮总共下了六单,前几把基本都在试探走势。结果连续几期都反着来,尤其是那笔3050的“总双”,被直接吃掉,账面一口气红到三千多。那一瞬间心态确实有点晃,手差点又去补仓。后来想到之前吃亏的经验,强行让自己停手,看完那期结果就去洗了个脸。- u: G7 r5 s7 }/ Y
( {: R% P% x  b5 B
回来后重新看走势图,发现节奏有点回稳,于是再上两把“总单”试水。最后一单我加到4166,打的第114056541期,终于中回来了3999.36,这口气算是稳了。整盘下来,亏了2450左右,折合人民币不到两千。
+ @# u! r& [1 W+ g4 E% J+ B" d8 F% P0 n& K: m/ Z5 V
账面上虽然是负的,但我个人觉得这轮打得比前几次更“成熟”——不是赢多少的问题,而是我终于没再乱追。这次BBIN那边转入了10616,转出回大厅时剩8165,虽然账面亏损,但过程有节制、心态稳,算是一次小考合格。, E, E9 S) G1 V2 e
1 N- W( V% `8 p5 F9 ]5 l% \& i
过去我常常一看挂单就想加码“赢回来”,结果反而输更惨。现在我学会了一件事:赢钱靠机会,止损靠自律。只要不被情绪带走,长期来看反而能少损多赢。
8 u4 S7 `" N' @# F
. |# N2 \0 l- y: g( g4 j, Q另外,这轮台湾宾果的走势挺诡异的,总和单双跳得快,没有出现连续7期以上的连号。下午那段时间尤其乱,建议后面玩这盘口的兄弟们注意节奏,不要被短线结果误导。可以像我这样——前几期用小注探路,等走势方向稳定后再加码。4 A# _9 V% X2 f$ q" V$ T" L5 d

0 p% H7 B* _: R" X: C' K/ R: \这次我还特地看了下注明细,总金额10616,有效投注全打满,亏损-2450.64。虽然是红的,但我反而挺高兴,因为这说明我守住了底线:没追加、没爆仓。" m& ?; t  y5 p& i. P2 C
* L( t: A) c; R  g: _7 a* n
最后总结一句:
) Q. U, }/ E, Y" Q, s8 Z* G输钱不可怕,乱输才可怕;稳得住,才是真正的赢。+ }. P6 l7 E6 E) @+ Q8 R
. Y5 m1 K2 R3 W, R  a: I9 a
这两天论坛不少人也在分享台湾盘的节奏,我的经验是——宁可打慢,也不要乱节奏。未来几天我会继续观察走势,等连号或规律性区间出来,再考虑加仓。今天就到这,休息一会,晚上再看情况。
( S- U9 c, s0 u# b8 Y
# Q  g5 B# Y& w" I  z QQ20251006-160203.png QQ20251006-160102.png ' D% |% |1 ]/ X0 x

  X# \2 o- L: C* ?
7 y: e5 v# g7 @$ F* Q( f9 W* `5 U
回复

使用道具 举报

1

主题

4994

回帖

4198

金币

金牌会员

积分
23389

老会员

发表于 2025-10-6 16:22 | 显示全部楼层
楼主亏损了还是要止损,回血了一大半还是挺不错了
回复 支持 反对

使用道具 举报

197

主题

6859

回帖

148

金币

银牌会员

积分
13995

老会员交易勋章

发表于 2025-10-6 17:56 | 显示全部楼层
你还玩这个啊,我是真没玩过这类彩票,是彩票没错吧,止损做到位就好
回复 支持 反对

使用道具 举报

8

主题

2万

回帖

8170

金币

铂金用户

积分
80735

光影行者

发表于 2025-10-6 19:37 | 显示全部楼层
3050那把真够呛,能忍住不补仓已经赢一半,节奏乱时洗脸是个好招
回复 支持 反对

使用道具 举报

3400

主题

4万

回帖

4140

金币

钻石用户

积分
116761

万时之王老会员勤奋勋章交易勋章

发表于 2025-10-6 19:48 | 显示全部楼层
老哥还是低调点吧, 亏损2450, 也是输太多了, 还是要及时收手,真不敢继续了
回复 支持 反对

使用道具 举报

3400

主题

4万

回帖

4140

金币

钻石用户

积分
116761

万时之王老会员勤奋勋章交易勋章

发表于 2025-10-6 19:49 | 显示全部楼层
蔬菜沙拉 发表于 2025-10-6 19:37) X' ?- u9 V' Z" Y5 ^7 F) e2 B
3050那把真够呛,能忍住不补仓已经赢一半,节奏乱时洗脸是个好招

7 S8 H! B+ H, k0 k玩菠菜还是量力而行吧, 别玩太大了, 输太多了, 也是很影响心情了。
回复 支持 反对

使用道具 举报

3400

主题

4万

回帖

4140

金币

钻石用户

积分
116761

万时之王老会员勤奋勋章交易勋章

发表于 2025-10-6 19:49 | 显示全部楼层
二电厂哥 发表于 2025-10-6 17:56- T- M" `: h% o' _2 m$ N( K+ H
你还玩这个啊,我是真没玩过这类彩票,是彩票没错吧,止损做到位就好

" y9 r' C) V! Q0 T' }6 S, v亏损了2450也是输太多了, 这钱能干很多事的了啊, 也是很遗憾了。
回复 支持 反对

使用道具 举报

3400

主题

4万

回帖

4140

金币

钻石用户

积分
116761

万时之王老会员勤奋勋章交易勋章

发表于 2025-10-6 19:50 | 显示全部楼层
shunlifeiup 发表于 2025-10-6 16:22/ G' v( w7 a1 c7 O& T
楼主亏损了还是要止损,回血了一大半还是挺不错了
: G; G. Z9 C; J1 J( E* f; K; I1 \
损失惨重了呀, 输了这么多, 想回血都是很困难了啊, 还是休息冷静一下吧。
回复 支持 反对

使用道具 举报

389

主题

1564

回帖

2854

金币

银牌会员

积分
10019

老会员交易勋章

发表于 2025-10-6 21:07 | 显示全部楼层
能够及时做到止损啊 还是很不容易的   及时调整吧!
回复 支持 反对

使用道具 举报

52

主题

2万

回帖

9996

金币

铂金用户

积分
93740

老会员光影行者

发表于 2025-10-7 02:34 | 显示全部楼层
别急着追,理性把握,稳住节奏,总会有赚钱的时候,节制至关重要
回复 支持 反对

使用道具 举报

52

主题

2万

回帖

9996

金币

铂金用户

积分
93740

老会员光影行者

发表于 2025-10-7 02:34 | 显示全部楼层
蔬菜沙拉 发表于 2025-10-6 19:37
/ @; X% N8 e% A, S2 `7 }3050那把真够呛,能忍住不补仓已经赢一半,节奏乱时洗脸是个好招
. D* y8 s" [6 a: {/ q3 \
3050那把确实有点狼狈,不过威尼斯人台湾宾果稳住节奏,亏损2450也算是及时止损
回复 支持 反对

使用道具 举报

2522

主题

8万

回帖

4249

金币

海燕硕士

积分
227578

老会员超级精华精华勋章美女勋章勤奋勋章交易勋章万时之王

发表于 2025-10-7 05:46 | 显示全部楼层
输掉了2000多块能够止损离开也是比较理智的一个人吧
回复 支持 反对

使用道具 举报

2522

主题

8万

回帖

4249

金币

海燕硕士

积分
227578

老会员超级精华精华勋章美女勋章勤奋勋章交易勋章万时之王

发表于 2025-10-7 05:46 | 显示全部楼层
whywhy 发表于 2025-10-7 02:343 R4 f: ]4 _& |+ S: i
3050那把确实有点狼狈,不过威尼斯人台湾宾果稳住节奏,亏损2450也算是及时止损 ...
- f$ i$ l/ u) F. U7 i! r
反正自己的节奏要把握好,不然输的就是自己的钱
回复 支持 反对

使用道具 举报

2522

主题

8万

回帖

4249

金币

海燕硕士

积分
227578

老会员超级精华精华勋章美女勋章勤奋勋章交易勋章万时之王

发表于 2025-10-7 05:46 | 显示全部楼层
whywhy 发表于 2025-10-7 02:34. p6 E* o* s9 {5 M4 b
别急着追,理性把握,稳住节奏,总会有赚钱的时候,节制至关重要

) D# s9 A9 m( i9 P& a这个节奏导致的亏损也是没有办法的事,毕竟输了这么多
回复 支持 反对

使用道具 举报

2522

主题

8万

回帖

4249

金币

海燕硕士

积分
227578

老会员超级精华精华勋章美女勋章勤奋勋章交易勋章万时之王

发表于 2025-10-7 05:46 | 显示全部楼层
莫扎特06 发表于 2025-10-6 19:49: p% G' G! }9 d. p8 l
亏损了2450也是输太多了, 这钱能干很多事的了啊, 也是很遗憾了。
/ A7 ?, k- W4 z& n; I! q
输的太多也是要想办法把它搞回来,不然也是难受
回复 支持 反对

使用道具 举报

您需要登录后才可以回帖 登录 | 立即注册

本版积分规则

广告合作|福利汇|论坛简介|钱包教程|手机版|小黑屋|Archiver|海燕论坛

快速回复 返回顶部 返回列表