找回密码
 立即注册
澳门威尼斯人
U8
U18
海燕招商
A
蓝盾
e世博
islot.
申博亚洲
澳门银河
B
腾博会
德信
C级广告商
吉祥坊
查看: 66515|回复: 21

[足球推荐] 2025年5月30日00:00 挪超 布兰VS莫尔德

[复制链接]

229

主题

3470

回帖

465

金币

银牌会员

积分
10770

老会员交易勋章

发表于 2025-5-29 16:43 | 显示全部楼层 |阅读模式

马上注册,结交更多好友,享用更多功能,让你轻松玩转社区。

您需要 登录 才可以下载或查看,没有账号?立即注册

×
推荐:大3
北京时间20255300000将迎来挪超第10轮的一场比赛,布兰主场迎战莫尔德,两支球队本赛季的表现恰好相反,布兰目前排名靠前,反观莫尔德目前排在下游,本场比赛也是比较重要。
2-1.png
积分分析
目前赛事已经进行了11轮,布兰少赛两场,目前仅取得了621负的战绩,目前拿到了20的积分,落后第16,如果少进行的两场都拿下也能跃居第一。客队莫尔德本赛季表现也是比较一般的,224负的战绩拿到了8的积分,排名联赛第12,后面的比赛还是有压力的。
2-2.png
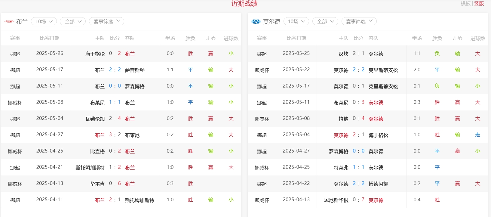
战绩分析:
两队历史交手上,布兰面对莫尔德的近10场比赛取得了28负的战绩,还是客队莫尔德占据了优势。近十场比赛布兰取得了730负的战绩,状态比较不错。莫尔德近十场比赛取得了442负的战绩也是展现出不俗的状态。
2-3.png 2-4.png
盘口分析:
从实力上看,主队布兰稍胜于客队莫尔德,加上莫尔德本赛季状态比较差,所以本场比赛给出了主队布兰让半球也比较合理,大小球方面给到3球还是展示出对大球的信任,本场比赛胜负不太好判断,但是支持下大球还是不错的。
推荐:大3
, u3 @4 _. C0 @$ _) X- n/ b
fakename.png
$ _- y! x# Z: N3 d7 Q& L
回复

使用道具 举报

480

主题

3万

回帖

4665

金币

铂金用户

积分
84327

老会员美女勋章勤奋勋章交易勋章

发表于 2025-5-29 16:47 | 显示全部楼层
看好这场大球是不错的,这场打出来大球应该是没有问题
回复 支持 反对

使用道具 举报

21

主题

2939

回帖

2948

金币

银牌会员

积分
12376

老会员

发表于 2025-5-29 17:39 | 显示全部楼层
莫尔德最近不咋地,布兰主场还能给半球挺合理,三球大球感觉能出,期待看好进球大战!
回复 支持 反对

使用道具 举报

252

主题

1万

回帖

1904

金币

金牌会员

积分
32705

老会员

发表于 2025-5-29 18:47 | 显示全部楼层
这一场的大球,看起来还是很不错的,希望以后都能够有个好的收益了。
回复 支持 反对

使用道具 举报

0

主题

9812

回帖

4749

金币

金牌会员

积分
31022

老会员

发表于 2025-5-29 20:03 | 显示全部楼层
这一场的大球看起来,还是很不错的,就看这个到底是什么结果了。
回复 支持 反对

使用道具 举报

675

主题

8238

回帖

6573

金币

金牌会员

积分
29539

老会员交易勋章

发表于 2025-5-29 22:00 | 显示全部楼层
直接上大3球啊,高水可不是那么容易打穿的,你是够博的
回复 支持 反对

使用道具 举报

36

主题

1万

回帖

3789

金币

千足金牌会员

积分
50064

老会员美女勋章光影行者

发表于 2025-5-30 07:18 | 显示全部楼层
最后进球数是3个,卡盘口了,走盘的结果了
回复 支持 反对

使用道具 举报

36

主题

1万

回帖

3789

金币

千足金牌会员

积分
50064

老会员美女勋章光影行者

发表于 2025-5-30 07:18 | 显示全部楼层
展现出 发表于 2025-5-29 22:00
' \! {& b6 ]. X2 T% ]直接上大3球啊,高水可不是那么容易打穿的,你是够博的
' x6 t& Q: A  u, O
最后是走盘的结果了,刚好进球数是3个,没输也还不错
回复 支持 反对

使用道具 举报

3725

主题

7万

回帖

3872

金币

海燕硕士

积分
219909

万时之王老会员勤奋勋章交易勋章

发表于 2025-5-30 07:30 | 显示全部楼层
这一场比赛全场进了3个球了,楼主的推荐大球走盘了
回复 支持 反对

使用道具 举报

3725

主题

7万

回帖

3872

金币

海燕硕士

积分
219909

万时之王老会员勤奋勋章交易勋章

发表于 2025-5-30 07:30 | 显示全部楼层
云水谣 发表于 2025-5-30 07:18
( ^! b. f7 W% N2 q最后是走盘的结果了,刚好进球数是3个,没输也还不错
& d( v9 B! d8 X& K( `
不输不赢也可以接受了,下次继续努力猜对了就可以啦
回复 支持 反对

使用道具 举报

3942

主题

8万

回帖

8398

金币

海燕硕士

积分
243554

万时之王老会员精华勋章勤奋勋章

发表于 2025-5-30 08:34 | 显示全部楼层
这样一个不舒服,你的结果总的来说是完全可以接受的。
回复 支持 反对

使用道具 举报

3942

主题

8万

回帖

8398

金币

海燕硕士

积分
243554

万时之王老会员精华勋章勤奋勋章

发表于 2025-5-30 08:34 | 显示全部楼层
dollar 发表于 2025-5-30 07:30
) ?9 K+ U+ ^/ Q  F+ X% t; u不输不赢也可以接受了,下次继续努力猜对了就可以啦
7 l0 X1 @2 d* @) l: X
总之还是希望下一次自己能够取得一个更加满意的结果是什么
回复 支持 反对

使用道具 举报

3942

主题

8万

回帖

8398

金币

海燕硕士

积分
243554

万时之王老会员精华勋章勤奋勋章

发表于 2025-5-30 08:35 | 显示全部楼层
云水谣 发表于 2025-5-30 07:18: P! R. r# ~8 H9 I
最后进球数是3个,卡盘口了,走盘的结果了

7 g8 K6 c9 a) \; N这个盘口也是希望能够搞出来,不断的坚持起来就很舒服。
回复 支持 反对

使用道具 举报

229

主题

3470

回帖

465

金币

银牌会员

积分
10770

老会员交易勋章

 楼主| 发表于 2025-5-30 10:28 | 显示全部楼层
左西右东 发表于 2025-5-30 08:35. _" _; ~9 x5 L8 e2 E5 s
这个盘口也是希望能够搞出来,不断的坚持起来就很舒服。
* d7 C  R# x& c7 u; q- i
有点可惜了,进了3个之后就煤球了,最后也是无奈的走水了
回复 支持 反对

使用道具 举报

229

主题

3470

回帖

465

金币

银牌会员

积分
10770

老会员交易勋章

 楼主| 发表于 2025-5-30 10:29 | 显示全部楼层
左西右东 发表于 2025-5-30 08:34
  c" w  \) S" q; x9 r6 [总之还是希望下一次自己能够取得一个更加满意的结果是什么
1 c  I0 F" I; L) z- `. P( S
每次都是希望下一次是个好的结果,这个就得需要我们自己去努力
回复 支持 反对

使用道具 举报

您需要登录后才可以回帖 登录 | 立即注册

本版积分规则

广告合作|福利汇|论坛简介|钱包教程|手机版|小黑屋|Archiver|海燕论坛

快速回复 返回顶部 返回列表